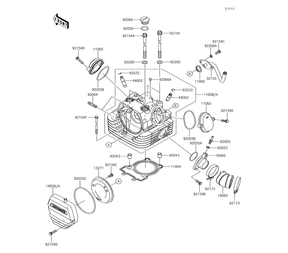
Cylinder Head / ฝาสูบ
01
Cylinder/Piston(s) / เสื้อสูบ/ลูกสูบ
02
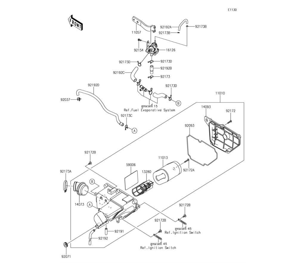
Air Cleaner / หม้อกรองอากาศ
03
Muffler(s) / ท่อไอเสีย
04
Valve(s) / วาวล์
05
Camshaft(s) Tensioner / เพลาราวลิ้น/ตัวดันโซ่
06
Crankshaft / เพลงข้อเหวี่ยง
07
Clutch / คลัช
08
Transmission / เฟืองเกียร์
09
Gear Change Drum / Shift Fork(s) / กระปุกเกียร์/ก้ามปูเกียร์
10
Gear Change Mechanism / คันเกียร์
11
Crankcase / แคร้งเครื่องยนต์
12
Engine Cover(s) / ฝาครอบเครื่องยนต์
13
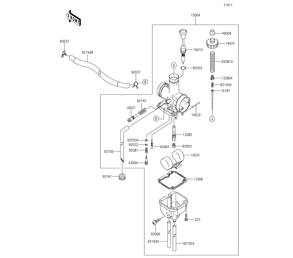
Carburetor / คาร์บูเรเตอร์
14
Fuel Evaporative System / ระบบควบคุมไอน้ำมันเชื้อเพลิง
15
Oil Pump / ปั๊มน้ำมันเครื่อง
16
Generator / ชุดแม่เหล็กจานไฟ
17
Ignition System / คอยล์หัวเทียน
18
Starter Motor / มอเตอร์สตาร์ท
19
Frame / ตัวถัง
20