Cylinder Head / ฝาสูบ
01
Engine Cylinder Head
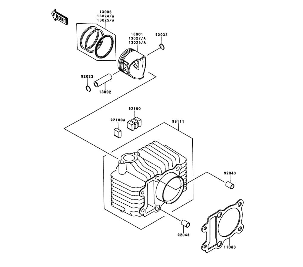
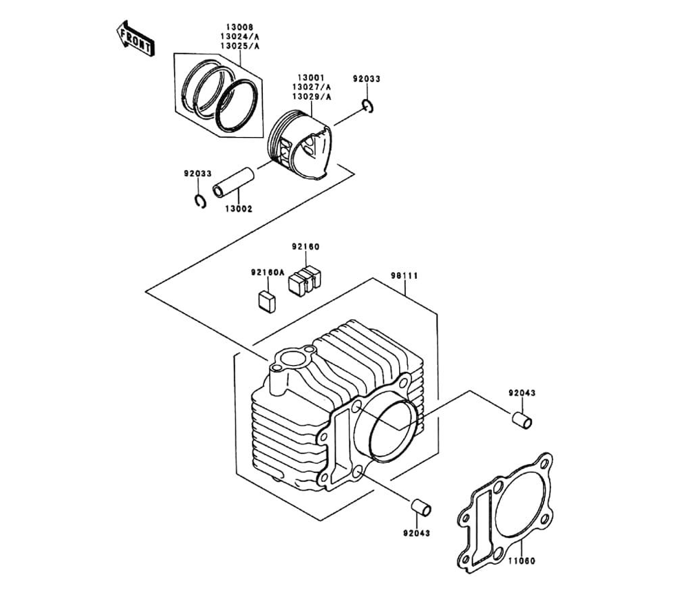
Cylinder/Piston(s) / เสื้อสูบ/ลูกสูบ
02
Engine Cylinder Piston
Engine Air Cleaner
03
Air Cleaner / หม้อกรองอากาศ
Muffler(s) / ท่อไอเสีย
04
Engine Muffler
Valve(s) / วาวล์
05
Engine Valve
Camshaft(s) Tensioner / เพลาราวลิ้น/ตัวดันโซ่
06
Engine Camshaft/Tensioner
Crankshaft / เพลงข้อเหวี่ยง
07
Engine Crankshaft
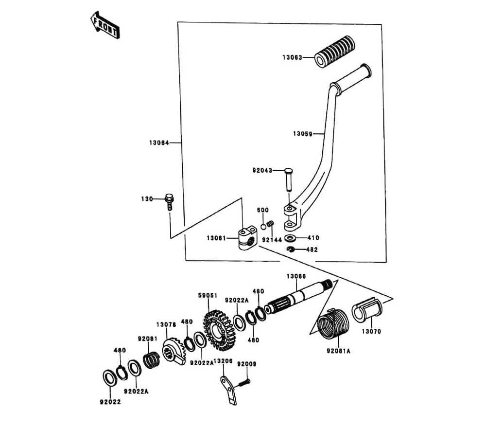
Kick Starter Mechanism / คันสตาร์ท
08
Engine Kickstarter Mechanism
Engine Clutch
09
Clutch / คลัช
Engine Transmission
10
Transmission / เฟืองเกียร์