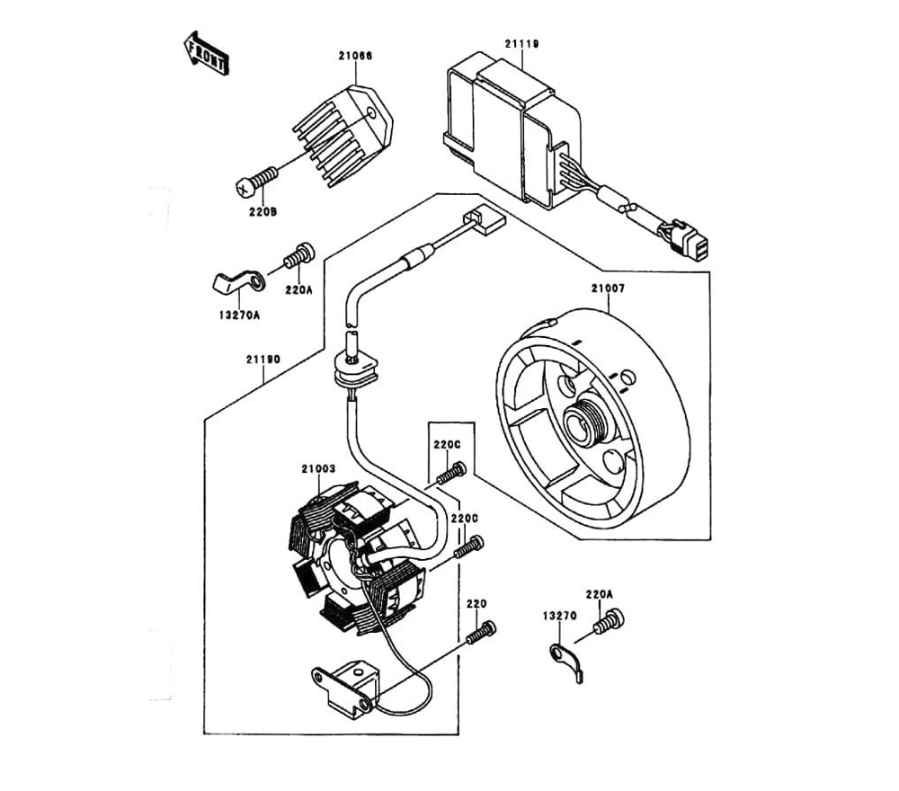
Generator / ชุดแม่เหล็กจานไฟ
0

Go to the brand
409109 409110 409111 409112 409113 409114 409115 409116