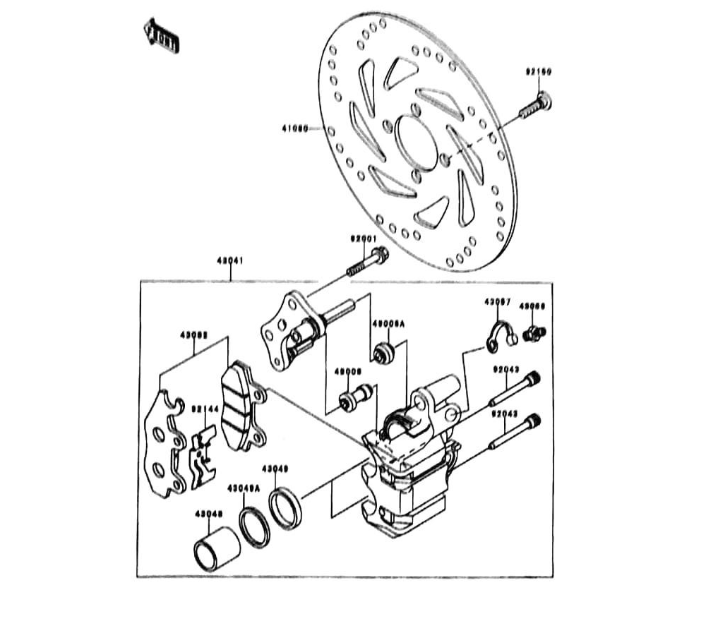
Front Brake / เบรคหน้า
0

Go to the brand
411379 411380 411381 411382 411383 411384 411385 411386 411387 411388 411389 411390 411391