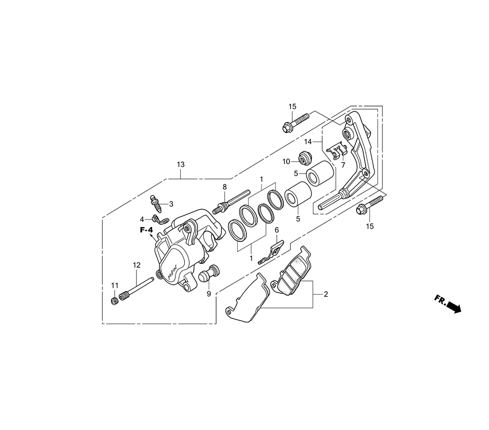
Front Brake Caliper / ชุดดิสก์เบรคหน้า
0

Go to the brand
568770 568771 568772 568773 568774 568775 568776 568777 568778 568779 568780 568781 568782 568783 568784 568785 568786 568787