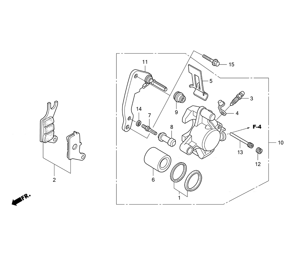
Front Brake Caliper / ชุดดิสก์เบรคหน้า
0

Go to the brand
587023 587024 587025 587026 587027 587028 587029 587030 587031 587032 587033 587034 587035 587036 587037