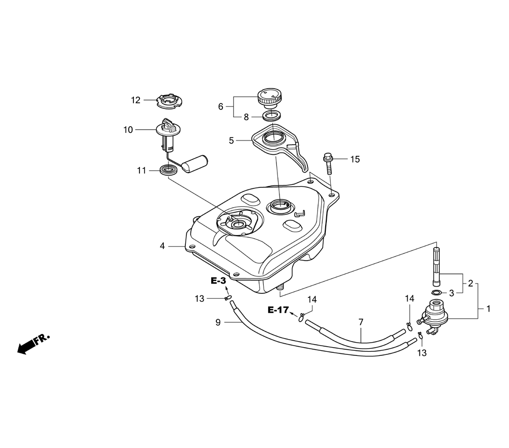
Fuel Tank / ถังน้ำมัน
0

Go to the brand
587873 587874 587875 587876 587877 587878 587879 587880 587881 587882 587883 587884 587885 587886 587887 587888 587889