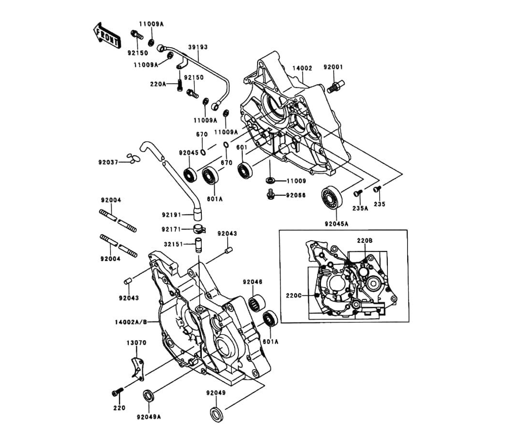
Crankcase / แคร้งเครื่องยนต์
0

Go to the brand
408254 408255 408256 408257 408258 408259 408260 408261 408262 408263 408264 408265 408266 408267 408268 408269 408270 408271 408272 408273 408274 408275 408276