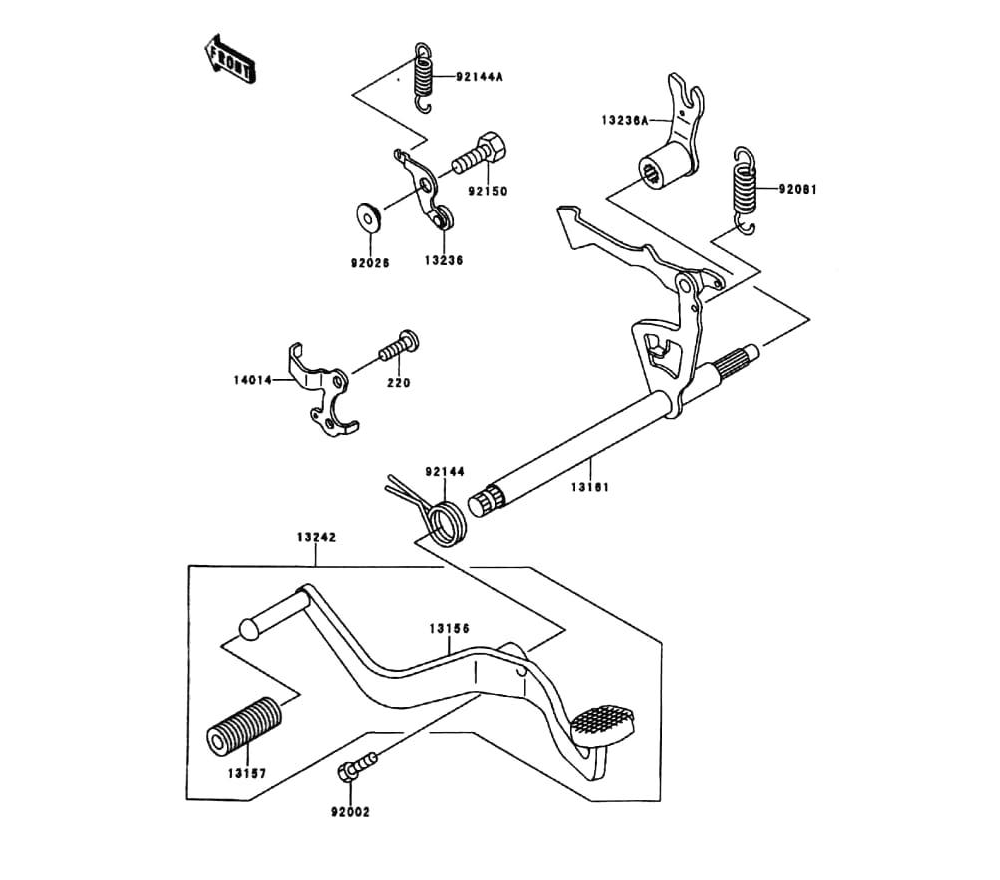
Engine Gear Change Mechanism
0

Go to the brand
1153957 1153958 1153959 1153960 1153961 1153962 1153963 1153964 1153965 1153966 1153967 1153968 1153969 1153970